Samsung n’est pas le seul le constructeur à avoir des ambitions sur le marché du téléphone pliable. En fait, son plus grand rival, Apple, pourrait avoir des plans similaires si l’on en croit un nouveau brevet pour un iPhone plié.
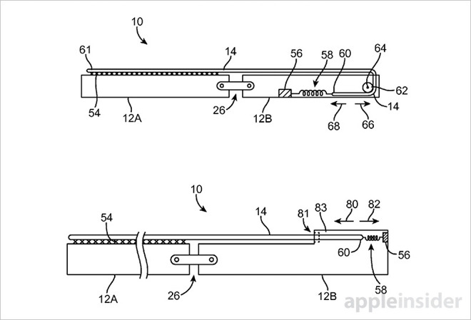
Le brevet, repéré par Apple Insider, est intitulé « flexible display devices » (« dispositifs à écran flexible »), et détaille un téléphone avec une charnière au milieu de l’écran, ce qui lui permet de se plier en deux, un peu comme une version high-tech des téléphones à clapet par le passé. Le brevet lui-même a été déposé en juillet 2014, et il prévoit l’utilisation d’un écran OLED flexible pour arriver à ses fins.
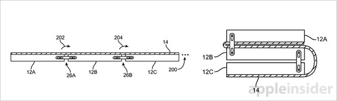
Il existe plusieurs versions de la conception, y compris celle qui va protéger et cacher l’écran lorsqu’il est fermé, et un autre qui laisse l’écran visible, mais réduit de la moitié sa taille. Il y a même une version qui pourrait se loger dans la poche d’une chemise lorsqu’il est plié. Pour ce faire, davantage de charnières pourraient être mises en œuvre, de façon à pouvoir plier le dispositif en tiers ou en quart au lieu de la moitié.


Tôt ou tard
J’imagine que l’on est très loin d’un produit final, mais c’est une preuve supplémentaire que les téléphones pliables pourraient arriver un jour. Et, si l’on se fie aux multiples brevets des plus grands noms de l’industrie, la concurrence pourrait être féroce.
Et, tandis que nous ne verrons probablement pas un iPhone plié avant quelques années, des rumeurs suggèrent que l’iPhone 8 pourrait avoir un écran incurvé, ce qui est un pas dans la bonne direction. Samsung, quant à elle, pourrait lancer un smartphone plié dès l’année prochaine.



