fermer
Apple

Apple pourrait incruster le capteur de lumière ambiante dans l’écran

apple 1034305 1280
Allons-nous enfin avoir 32 Go de base pour un iPhone ?

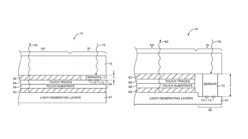
Apple peut être en mesure de faire sa prochaine génération de smartphones encore plus minces et plus compacts en abandonnant les bords d’écran, et tout ce qu’il se cache en dessous. Apple vient d’obtenir un nouveau brevet pour intégrer son capteur de lumière ambiante dans l’écran lui-même, ce qui signifie qu’il pourrait ne pas avoir besoin d’espace supplémentaire autour du bord de l’écran.

Le but d’un capteur de lumière ambiante est de laisser l’OS du smartphone savoir la quantité de lumière absorbée par l’écran à tout moment. Il est la raison pour laquelle l’iPhone (et la plupart des smartphones modernes d’autres fabricants) peut ajuster automatiquement la luminosité de l’écran. Cela permet de lire ce qu’il y a sur l’écran dans n’importe quelle condition, ou d’éviter de plomber l’autonomie du mobile.

Ce capteur est habituellement placé latéralement sur le devant de l’appareil, mais le brevet d’Apple suggère que la firme travaille sur celui-ci afin de le placer sous l’écran lui-même. AppleInsider affirme que cette technique pourrait également être utilisée pour le capteur de proximité, éliminant l’espace nécessaire autour de l’écran.

Un capteur de lumière ambiante incrusté dans l'écran du futur iPhone ?
Un capteur de lumière ambiante incrusté dans l’écran du futur iPhone ?

Une sensibilité de l’écran en moins

Le potentiel inconvénient est qu’une partie de la sensibilité tactile sur l’écran pourrait être perdue. Le brevet suggère que la partie passive de l’écran peut être utilisée pour afficher des informations telles que l’heure et l’autonomie restante.

Quoi qu’il en soit, il s’agit d’un design intéressant, et il pourrait faire allusion à ce que l’avenir de la conception des smartphones pourrait être du côté d’Apple. Néanmoins, et comme toujours avec les brevets, ce dernier pourrait ne jamais voir le jour.

Tags : brevetiPhone
Yohann Poiron

The author Yohann Poiron

J’ai fondé le BlogNT en 2010. Autodidacte en matière de développement de sites en PHP, j’ai toujours poussé ma curiosité sur les sujets et les actualités du Web. Je suis actuellement engagé en tant qu’architecte interopérabilité.