Si vous avez acheté quelque chose dans un Apple Store, vous pourriez avoir reçu un sac en papier pour effectuer votre achat. Certes, c’est un joli sac, avec de solides poignées, tout en étant conçu en papier épais. Apple est si fier de son sac en papier, que la société a soumis un brevet pour ce dernier.
Si vous vous êtes déjà demandé à quoi ressemble un brevet pour un sac en papier, ne cherchez pas plus loin. Les 5 243 mots du dépôt d’Apple vont vous rappeler ce qu’est un sac, et ce qui sépare un sac d’Apple à un autre sac de papier traditionnel. « Les sacs sont souvent utilisés pour contenir des éléments », peut-on lire dans le brevet. « Par exemple, les sacs peuvent être utilisés pour contenir des articles achetés dans une boutique ». Si si, vous ne le saviez pas ?
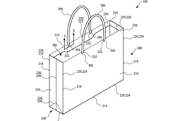
Pour être juste, le brevet d’Apple offre quelques innovations d’ingénierie dans le sac. Le sac est composé au minimum « de 60 % de papier blanc », et utilise des « adhésifs et des matériaux spécifiques ». Le brevet va également décrire la manière dont Apple rend son sac si résistant. Fascinant.

Imaginez que Jony Ive lise ceci pour vous
Apple veut aussi que les poignées de son sac ne vous coupent pas la peau. « La construction des poignées du sac offre un toucher très doux, et une grande flexibilité semblable à un textile, comme un lacet, plutôt que la rigidité associée classiquement du papier », lit-on dans le paragraphe 49 du brevet.
Bien qu’étrange, ce n’est pas la première fois qu’Apple présente un tel brevet. Apple a quasiment tout breveté ce que l’on retrouve dans les magasins, allant jusqu’aux marches en verre.
Pour être clair, Apple a seulement présenté le brevet de son sac, mais l’US Patent & Trademark Office n’a pas encore décidé de lui accorder. Mais si Apple a breveté avec succès le concept d’un rectangle, il est probable que le sac passe…



