Il y a beaucoup de surface utilisée sur le smartphone d’aujourd’hui. Bien sûr, l’avant est la plupart du temps rempli par l’écran, et à l’arrière il y a une caméra. Mais, le reste de la coque arrière est normalement juste un espace vide.
Cependant, Apple pourrait, à sa manière, apporter toute autre chose. En effet, une future version de l’iPhone qui pourrait avoir un écran sur l’avant et un à l’arrière — c’est ce que laisse entendre le dernier brevet de la société.
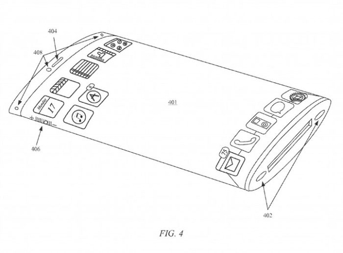
Le smartphone dans le brevet n’a pas deux écrans. En effet, à la place, c’est un seul écran qui s’enroule autour du smartphone. Bien sûr, l’iPhone a assez de problèmes avec l’autonomie de la batterie pour un seul écran, mais heureusement, Apple aurait trouvé un moyen de faire en sorte que la totalité de l’écran ne soit pas allumée, grâce au suivi du visage. Les différents capteurs détermineront ce que vous êtes en train de regarder, afin d’allumer la partie de l’écran qui doit l’être.

Un iPhone 8 à double écran ?
Pour tirer profit de la totalité de l’écran, le brevet indique que les boutons et les contrôles seront positionnés en bas de l’écran, sauf pour le contrôle du volume, qui devrait être un bouton logiciel, plutôt que physique.
Il est assez peu probable que nous verrons ce brevet se concrétiser dans un proche avenir — non seulement il serait difficile pour l’utilisateur de s’y habituer, mais il ne pourrait pas être aussi résistant que certains pourraient l’espérer.
Bien sûr, Apple n’est pas le seul à travailler sur des appareils avec plusieurs écrans. Samsung travaillerait sur un smartphone pliable, qui pourrait sortir cette année où l’année prochaine. Si cela finit par être un succès, Apple pourrait accélérer ses travaux, et ce brevet pourrait montrer l’iPhone 8.



