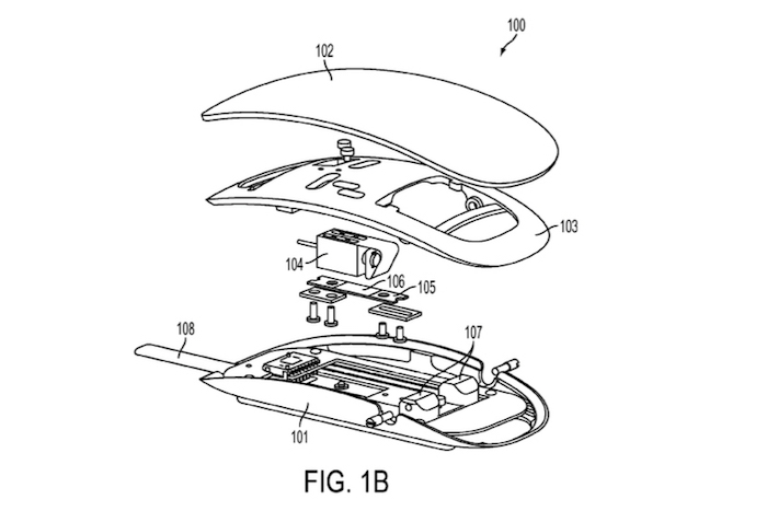
Il semble qu’Apple prévoit de dévoiler une Magic Mouse avec la technologie Force Touch incorporée, ou au moins la société a déposé un brevet pour un tel périphérique. Pour ceux qui l’ignorent, la technologie Force Touch fonctionnera comme elle le fait avec le trackpad qui a été introduit avec le MacBook Pro de 13 pouces à écran Retina qui a fait ses débuts au printemps dernier.
En d’autres termes, chaque fois que vous appuyez sur la surface de la Magic Mouse, vous obtiendrez le même clic uniforme avec retour haptique — une rétroaction qui reproduit parfaitement un clic, comme je peux le constater au quotidien sur mon MacBook Pro.
La force appliquée sur la souris sera également enregistrée, ouvrant ainsi plus de possibilités pour l’interface utilisateur. En effet, en fonction de la pression exercée, celle-ci déclenchera différentes fonctionnalités, comme cela a toujours été l’idée avec la technologie Force Touch depuis qu’elle a été révélée sur l’Apple Watch.

Une suite logique
Que ce soit le MacBook Pro de 13 pouces ou de 15 pouces, ce dernier a reçu un trackpad Force Touch l’année dernière. De plus, la technologie est également arrivée sur le Magic Trackpad 2 à l’automne dernier.
Il semble que ce soit un choix assez naturel de la part d’Apple d’étendre la technologie Force Touch à sa Magic Mouse, et l’on peut espérer que nous verrons certains cas d’utilisation de la technologie dans Mac OS X. En effet, l’une de mes principales critiques de la technologie sur le MacBook Pro est le fait qu’elle semble plus être un gadget qu’une caractéristique utile. Mais, Apple va sans doute travailler dur pour changer cela.
Le brevet de Cupertino a été repéré par Apple Patently, et a été publié aujourd’hui, même s’il a été initialement déposé au cours du premier trimestre de 2013.
Bien sûr, comme avec tous les brevets, il est intéressant de noter que beaucoup de ces plans ne font jamais réellement leur apparition en production. Cependant, avec celui-ci, une Magic Mouse Force Touch semble inévitable.



