Google travaille sur les smartphones modulaires. Acer a un mini-ordinateur de bureau modulaire, et Lenovo dispose d’un ensemble d’accessoires de PC modulaires. Maintenant, il semble que Microsoft a peut-être sa propre option.
Comme le note VentureBeat, Microsoft a déposé un brevet sur un dispositif informatique modulaire qui est essentiellement un PC de bureau tout-en-un qui permettrait aux utilisateurs d’ajouter des caractéristiques, en empilant des modules les uns au-dessus des autres. Le brevet a été déposé en juillet de l’année dernière, avant d’être publié jeudi dernier, le 11 février.
Au sein de cette demande, on retrouve notamment le coup de griffe de Tim Escolin, un designer industriel de Microsoft, responsable de la conception des produits de la gamme Surface, qui s’avère être co-auteur du brevet. Cela signifie que le périphérique pourrait partager l’image de marque de la gamme Surface.

Vraiment modulaire…
Bien sûr, comme le souligne VentureBeat, un PC traditionnel est « modulaire », dans le sens où vous pouvez mettre à jour ou échanger tous ces éléments. Mais, cela n’est pas toujours une tâche facile pour les moins férus de technologie — en particulier en ce qui concerne des éléments tels que le processeur (radiateur, ventilateur, pâte) et l’alimentation (câbles) par exemple.
Un PC véritablement modulaire permettrait de le mettre à niveau en moins d’une minute (ou deux), et il devrait être un jeu d’enfant à réaliser (sans danger pour les composants).
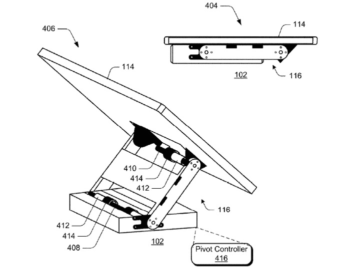
Si l’on en croit ce brevet, les modules seraient échangeables très simplement, vous permettant de modifier l’alimentation, la carte graphique, la mémoire ou encore le stockage, sans avoir à ouvrir un boîtier PC. Pour ce faire, il suffit de permuter un module par un autre.

Avec la plupart des croquis visibles dans la demande de brevet, on peut identifier des périphériques ressemblant à des ordinateurs de bureau traditionnels, et « d’autres exemples sont également envisagés », y compris dans le mobile ou la TV. Un seul module peut être utilisé dans chacun de ces environnements, affichant une interface utilisateur mobile ou TV lorsque le périphérique est utilisé avec l’un de ces dispositifs.
Il est intéressant de noter que ce n’est pas parce que Microsoft a déposé un brevet, que cela signifie que la société prévoit de sortir un ordinateur modulaire de ce type. Nous voyons beaucoup de demandes de brevet pour des produits qui ne voient jamais le jour.

Le fait de commercialiser du matériel modulaire en conjonction avec la gamme Surface serait logique pour Microsoft étant donné le succès du Surface Book et de la gamme Surface Pro, ainsi que l’intérêt que l’entreprise a démontré dans les accessoires modulaires avec le contrôleur Xbox One Elite.



