Les iPhone d’Apple ne sont pas encore officiellement imperméables à l’eau, même si un ou deux intrépides se sont occupés à tester la façon dont les flagships à la pomme croquée résistent une fois qu’on les a plongés dans un bac d’eau. Mais, bientôt nous pourrons peut-être tous le faire sans crainte. En effet, un nouveau brevet a émergé suggérant que c’est une caractéristique sur laquelle Apple a un œil.
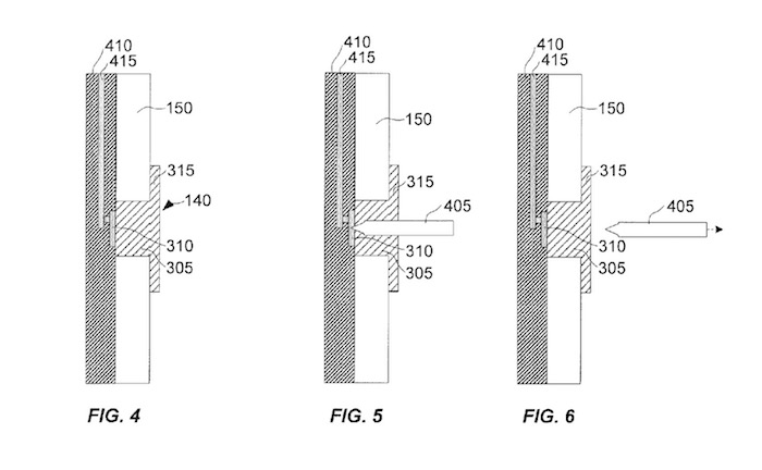
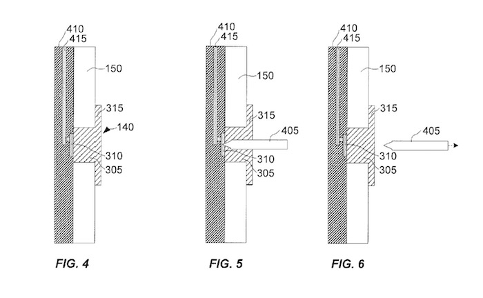
Le brevet a été mis en avant la semaine dernière, mais a été déposé en juillet 2014. Il se concentre sur un « élastomère d’auto-guérison » qui peut perdre et retrouver sa forme pour garder les rouages sensibles d’un dispositif protégé. Autrement dit, cela permettrait par exemple de brancher des écouteurs sur la prise casque lorsque vous en avez besoin, et ensuite de fermer le port dès lors qu’on les retire.
Les ports sont un des maillons faibles quand on veut rendre un smartphone imperméable à l’eau. Comment voulez-vous arrêter l’eau de pénétrer dans le smartphone lorsque les câbles Lightning et consorts doivent être insérés ?

Seulement un brevet ?
Grâce à un minutieux démontage par l’équipe d’iFixit de l’iPhone 6s, nous avons appris que ce dernier était presque imperméable à l’eau, et nous avons vu divers brevets d’Apple présentant un processus d’imperméabilisation — le dernier a impliqué un revêtement hydrophobe qui permettrait de protéger le circuit interne même si l’eau venait à pénétrer.
Toutes ces notes pourraient signifier que nous allons voir un iPhone 7 entièrement étanche. Mais, ne vous réjouissez pas trop vite. Il est également intéressant de noter que le brevet n’a pas encore été accordé à Apple, et qu’il s’agit d’une simple demande par le géant de Cupertino.
Les idées naissantes dans les brevets de l’industrie ne finissent pas toujours par voir le jour, mais ils peuvent être très utiles pour prédire de quelle manière un fabricant pense. Et, il semble qu’Apple pense sérieusement à la façon d’ajouter une touche d’étanchéité à ses smartphones phares.



