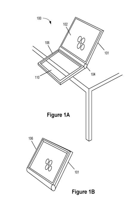
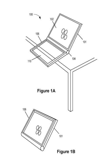
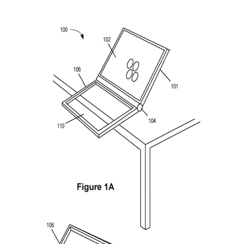
Les futurs MacBooks pourraient inclure une caractéristique unique et novatrice. Selon Patently Apple, la firme de Cupertino a réussi à déposer un brevet concernant un panneau “dual-sided trackpad”, entendez par là un double trackpad, pour une utilisation dans sa gamme des produits MacBook. Le trackpad prendrait la place de la traditionnelle “souris”.

Selon le document du brevet, la double face engloberait toute la partie inférieure du portable. Ainsi, l’ensemble du trackpad pourrait réagir au toucher par le haut ou le bas. Le dispositif serait également transparent, ce qui signifie que les utilisateurs seraient en mesure de fermer l’ordinateur portable, de le retourner, et toujours voir l’écran à travers le trackpad transparent, tout en étant toujours capable de le commander.
Ce dernier serait donc en mesure de recevoir des instructions en configuration “classiques”, c’est-à-dire en mode ordinateur portable traditionnel, et également à partir d’une configuration fermée, telle une tablette. Peut-être que c’est la façon de rivaliser avec le tourbillon actuel d’hybrides, moitié ordinateur portable et tablette, où le marche échappe actuellement à Apple, bien que l’on ignore encore exactement comment cette technologie sera mise en œuvre dans les prochains dispositifs de la firme, ou encore si cette dernière sera réellement utilisée.
En tout cas, il serait intéressant de voir arriver sur le marché un tel dispositif, qui dès lors qu’il serait fermé pourrait être utilisé pour effectuer des tâches minimes telles que le contrôle d’e-mails, et que le trackpad pourrait, pourrait tout simplement permettre de dessiner dessus via un stylo spécialisé, un peu comme une tablette.
Le fait que le trackpad prenne la majorité de la coque, pose également quelques questions, notamment sur l’endroit où les composants seront placés (probablement à l’arrière de l’écran ?). Sans oublier qu’il sera pratiquement impossible d’inclure un clavier physique (au moins un qui n’est pas complètement transparent). Cela suggère que nous pourrions voir Apple mettre en œuvre un clavier virtuel. Le brevet indique également que vous serez en mesure de désactiver la partie inférieure du trackpad afin d’économiser la batterie.
Il s’agit d’un développement très intéressant, et il sera intéressant de voir comment Apple utilise cette nouvelle technologie brevetée à l’avenir.



