Il y a eu beaucoup de rumeurs concernant les smartwatch, entendez par là des montres intelligentes, au cours des derniers mois. Mais à ce jour, nous n’avons pas vraiment vu quelque chose de concret, en dehors de rumeur après rumeur après rumeur. Malgré l’absence de preuves tangibles, de plus en plus d’entreprises semblent vouloir se jeter à corps perdu dans ce nouveau secteur de marché, même s’il reste encore à déterminer s’il y a vraiment un marché potentiel.
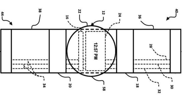
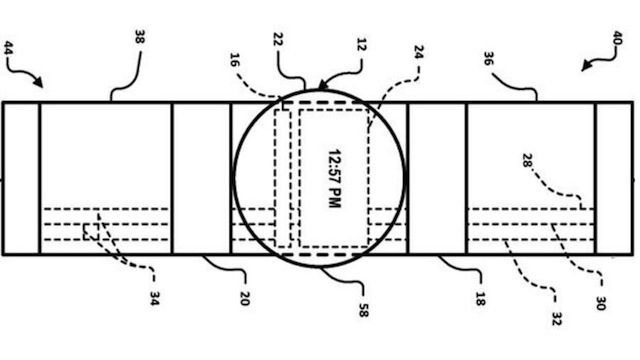
Si nous savons que désormais la firme de Mountain View a des plans pour arriver sur ce marché, nous avons récemment appris que, grâce à un article de Ubergizmo, basé sur des dessins de brevets soumises par le conglomérat numérique, une conception possible de sa smartwatch qui pourrait inclure non pas un, mais deux écrans tactiles séparés.

En fait, il apparaît que le design étendra des composants au-delà de l’écran principal et s’étendra à travers le bracelet de la montre. Selon les prévisions, il paraîtrait que la montre soit en mesure de supporter une connexion à Internet via une connectivité sans fil, même s’il n’est pas tout à fait clair si cela signifie que la montra sera capable de se synchroniser avec un dispositif Android, ou si elle sera effectivement en mesure de disposer d’une connexion autonome.
Le brevet suggère également que l’écran tactile secondaire peut être amovible. Personnellement à l’heure actuelle je ne vois pas réellement d’avantages sur une telle fonctionnalité, mais je suis persuadé que Google a retroussé ses manches, et je ne peux pas imaginer qu’elle n’aurait pas intégré une telle fonctionnalité sans aucune bonne raison.
Bien sûr, il s’agit simplement d’une idée introduite dans un brevet, et cela ne signifie pas nécessairement qu’il va voir la lumière du jour, en particulier dans la première génération d’un tel périphérique. Alors, qui sait peut-être que nous ne disposerons de ces caractéristiques lorsque Google dévoilera sa première génération de montres intelligentes.



