Le Pro Display XDR est un écran professionnel pour les utilisateurs qui ont besoin de la plus grande précision des couleurs et de la meilleure résolution possible. Avec la sortie du meilleur écran de l’année, Apple a également sorti un Pro Stand de 1 099 euros pour son Pro Display XDR. Un récent brevet suggère que Apple développe actuellement une nouvelle version de ce Stand, qui pourra accueillir deux écrans externes côte à côte.
Le brevet, intitulé Dual Display Stand, a été initialement déposé par le géant Cupertino auprès de l’US Patent and Trademark Office en 2019. Selon ce brevet, Apple a donc pensé à un moyen de modifier son actuel Pro Stand pour qu’il puisse loger simultanément et efficacement côte à côte deux écrans externes analogues à son Pro Display XDR. Apple note tout d’abord que les supports d’écran existants sont souvent « au détriment d’une utilisation pratique et naturelle ».
« Beaucoup nécessitent que l’utilisateur soit confronté à une friction ou une hystérésis importante qui rend le réglage difficile, gênant et long. De tels problèmes empêchent le support d’avoir une expérience utilisateur satisfaisante et de haute qualité. Ces problèmes sont aggravés lorsque le support doit supporter plus d’un écran. Il est donc nécessaire d’améliorer constamment les pieds et les supports des appareils électroniques », peut-on lire dans le brevet.
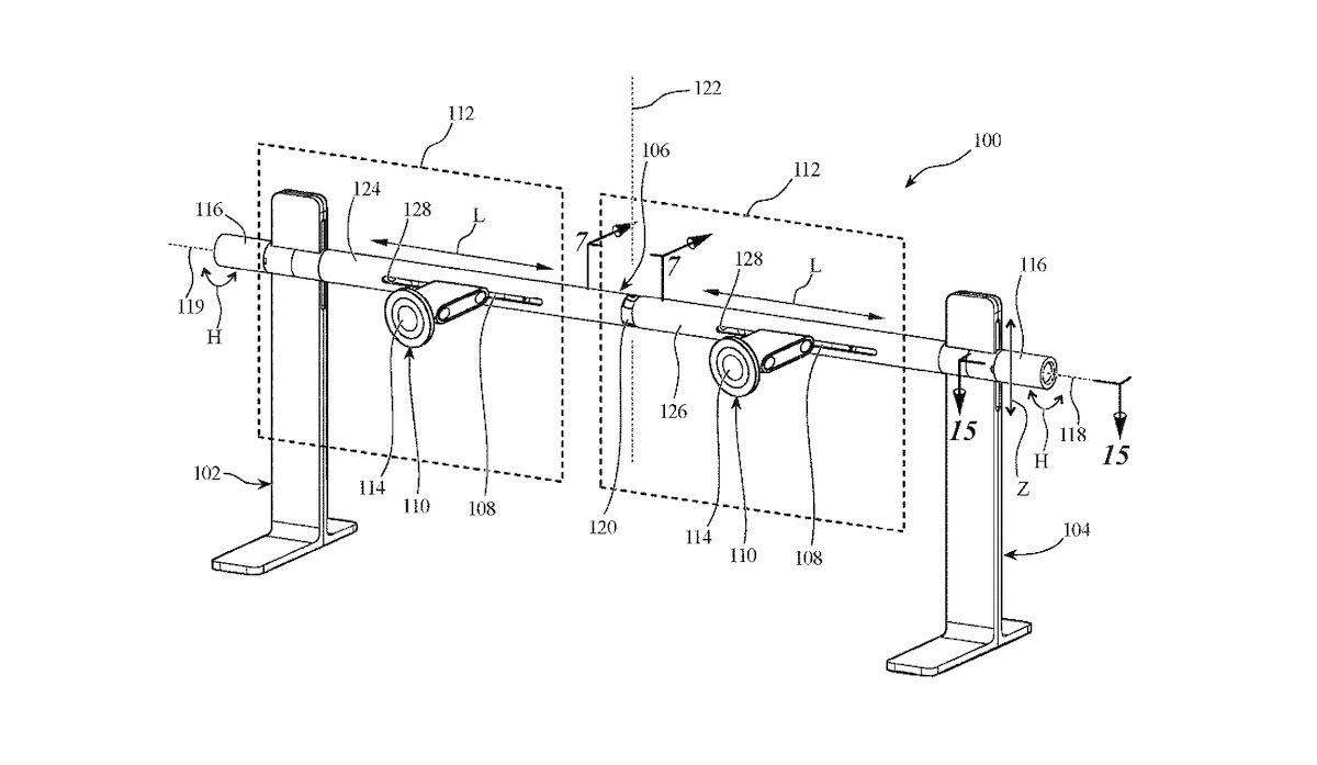
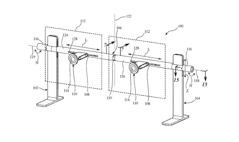
Le nouveau support, selon le brevet, aura une barre de support horizontale reliant deux pieds verticaux qui doivent soutenir les écrans lors de leur utilisation. Désormais, en plus de déplacer les écrans vers le haut ou vers le bas, les utilisateurs pourront également régler l’angle entre les deux écrans. Cela est possible, car la barre de support horizontale possède une articulation pliable au centre, qui permet aux utilisateurs de manipuler l’angle entre les écrans externes. De plus, des poignées sont prévues de chaque côté du support pour permettre aux utilisateurs de tenir chaque côté du support et de régler la position des écrans facilement et rapidement.
Nous connaissons tous l’importance des installations multi-écrans dans le monde numérique d’aujourd’hui. L’amélioration de la productivité et la fluidité du flux de travail sont parmi les principales raisons pour lesquelles les entreprises tentent d’améliorer les smartphones à double écran et de lancer des accessoires permettant de fixer des écrans externes sur les appareils mobiles.
Satisfaire les clients
Ce brevet d’Apple montre donc que le fabricant à la pomme croquée comprend l’importance des configurations à double écran, et qu’il veut y remédier avec ce nouveau « support à double écran ». Cependant, comme il s’agit d’Apple, lorsque la société lancera ce nouveau Dual Display Stand Pro ou quel que soit son nom, ne soyez pas surpris si elle demande une somme extravagante en échange. Après tout, ce sera un outil « révolutionnaire » pour vos écrans externes.
Bien sûr, Apple dépose de nombreux brevets chaque semaine, il n’y a donc aucune garantie qu’un Pro Stand à double écran arrive et aucune indication de la date à laquelle il pourrait arriver.




