fermer
Apple

Les futurs Mac pourraient utiliser le suivi oculaire pour naviguer dans l’interface

futurs mac pourraient utiliser suivi oculaire pour naviguer dans interface 1
Les futurs Mac pourraient utiliser le suivi oculaire pour naviguer dans l'interface

Le suivi oculaire est une caractéristique qui existe sur les PC Windows depuis un certain temps. Mais, il semblerait que Apple l’envisage peut-être également à l’avenir. Un brevet intitulé « Détection de regard dans un environnement de cartographie 3D » inclut des mentions indiquant qu’un jour, vous pourrez peut-être laisser tomber votre souris et regarder votre Mac d’une manière complètement différente.

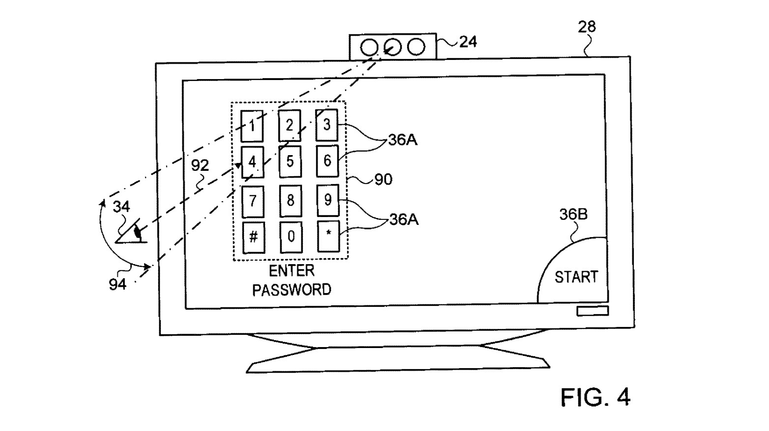
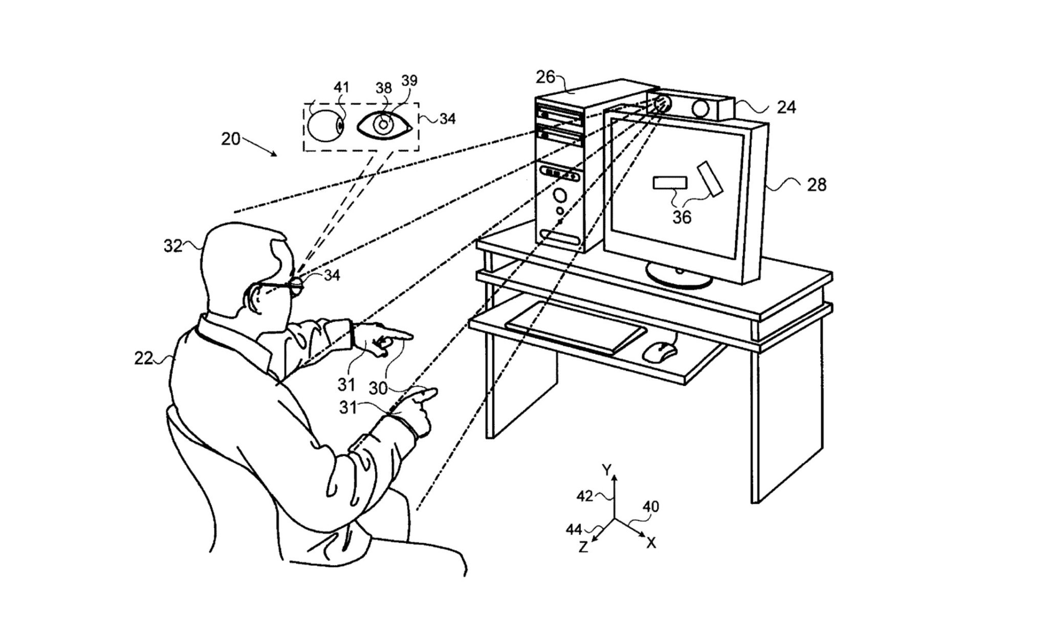
Le brevet a été initialement déposé en septembre 2017 et décrit initialement une interface de modalité mixte destinée à recevoir des cartes en trois dimensions d’au moins une partie du corps d’un utilisateur, puis à transmettre l’image à un ordinateur. Dans le cadre d’une série d’autres dépôts, il décrit également comment un capteur 3D peut capter le regard d’un utilisateur et le segmenter pour en extraire les coordonnées, puis l’identifier comme un mouvement sur l’écran.

« Il est en outre prévu un appareil comprenant un dispositif de détection configuré pour recevoir une image comprenant un œil d’un utilisateur, et un ordinateur configuré pour identifier, sur la base de l’image de l’oeil, une direction du regard réalisé par l’utilisateur… pour effectuer une opération sur le contenu présenté dans la région », explique le brevet.

Curieusement, le brevet explique qu’un potentiel système de suivi peut également enregistrer les mouvements des autres parties du corps d’un utilisateur, notamment la tête, le torse et les membres. Ceux-ci peuvent ensuite être entrés dans un ordinateur ou un autre périphérique, ce qui peut aider l’utilisateur à sélectionner les icônes et autres éléments de l’interface utilisateur.

Un simple brevet pour le moment

futurs mac pourraient utiliser suivi oculaire pour naviguer dans interface 2

C’est quelque chose que Apple veut aborder pour se distinguer des interfaces actuelles, selon le brevet. « De nombreux types de périphériques et de méthodes d’interface utilisateur sont actuellement disponibles. Les actuels périphériques à interface tactile comprennent un clavier d’ordinateur, une souris et une manette de jeu. Les écrans tactiles détectent la présence et la localisation d’une touche par un doigt ou un autre objet dans la zone d’affichage », explique le brevet.

Tout Mac doté de ces fonctionnalités de suivi serait très apprécié. Les derniers appareils d’Apple ont présenté davantage de changements internes que les évolutions révolutionnaires du passé. Comme d’habitude, les brevets ne voient pas toujours le jour, mais cela vaut peut-être la peine de rêver.

Tags : brevetmac
Yohann Poiron

The author Yohann Poiron

J’ai fondé le BlogNT en 2010. Autodidacte en matière de développement de sites en PHP, j’ai toujours poussé ma curiosité sur les sujets et les actualités du Web. Je suis actuellement engagé en tant qu’architecte interopérabilité.