Les plans matériels à court terme de Microsoft comprennent plusieurs nouveaux produits, dont certains pourraient voir le jour dès cette année. Et l’un des changements censés se frayer un chemin vers le marché est l’adoption de la technologie USB-C.
Et bien que cela soit logique étant donné que le port USB-C devient une norme de plus en plus utilisée, il semble que Microsoft elle-même essaie d’améliorer encore cette conception afin de rendre ses appareils plus minces. Cela serait particulièrement utile dans le cas du nouvel appareil mobile sur lequel la société travaille actuellement et connu sur le Web comme « Andromeda ».
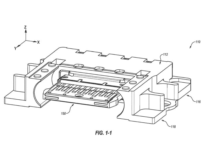
Comme découvert par DigitalTrends, Microsoft a inventé un nouveau design du port USB-C qui pourrait être « directement incrusté au châssis de l’appareil et peut sécuriser un port USB-C ». Fondamentalement, en optant pour une telle approche de conception, Microsoft peut éliminer le besoin de plaques, afin de fabriquer des appareils plus minces.
Il y a plusieurs idées que Microsoft détaille dans ses brevets, y compris l’utilisation de colle pour fixer le boîtier USB-C au châssis ou offrir encore plus d’avantages en matière de prix, pour le mouler directement.

Un port USB-C dans la gamme d’appareils de Microsoft
Microsoft n’est pas un inconnu de l’USB-C et était, en fait, l’une des premières sociétés à apporter cette norme à ses appareils. Lumia 950 XL, le célèbre produit phare de Windows 10 Mobile. Ce dernier a apporté l’USB-C avec la charge rapide à un moment où la plupart des fabricants de périphériques continuaient à utiliser le port micro USB en octobre 2015.
Mais comme pour tout ce qui est en phase de brevet, il n’y a aucune garantie que cette approche soit prête à être adoptée par Microsoft et qu’elles ne soient que des idées que l’entreprise envisage. Mais sans aucun doute, le port USB-C va rester, et tôt ou tard, la propre gamme Surface de Microsoft l’adoptera également.



