De nombreuses sociétés déposent des demandes de brevet pour diverses idées novatrices et révolutionnaires. Apple a déposé un brevet pour un mécanisme de chargement manuel qui permettrait de générer de l’électricité et d’accroître la durée de vie de la batterie sur les Apple Watch.
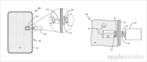
La demande de brevet décrit un mécanisme de charge manuel pour produire de l’électricité par enroulement d’une bobine, semblable aux montres-bracelets traditionnelles. La demande a été déposée auprès de l’US Patent and Trademark Office, selon Apple Insider.
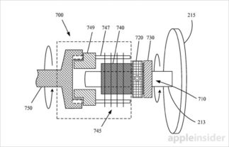
Apple décrit un système de charge qui applique un champ magnétique rotatif pour déplacer un générateur électrique dans un dispositif. Il en résulte de l’électricité qui pourrait être stockée dans une cellule de la batterie, et ainsi prolonger l’autonomie de l’Apple Watch ou d’autres appareils.
Le dispositif peut également utiliser le même champ magnétique pour enrouler un ressort
Le brevet d’Apple parle aussi d’une méthode d’utilisation du même champ magnétique pour enrouler un ressort ou une bobine, qui exercerait une force de rotation constante sur le générateur de charge pour créer de l’électricité. La station de charge devrait être réglée pour faire tourner un rotor maître, couplé à un second rotor esclave et générer ainsi un effet de flux magnétique.
Du fait que l’Apple Watch utilise déjà une couronne numérique pour la navigation, cette méthode pourrait très bien être utilisée sur les futures smartwatches. Le mécanisme permettrait aux utilisateurs de charger manuellement leurs montres.
Le système de production électrique pourrait potentiellement être utilisé dans les smartphones et les tablettes. Néanmoins, un tel mécanisme d’enroulement serait beaucoup plus approprié sur une Apple Watch. Reste à savoir si Apple va perfectionner cette technologie.






