Avec les interfaces de télévision de plus en plus complexe, les boutons numérotés d’une télécommande pour piloter un téléviseur sont davantage un vrai qu’une réelle utilité. Comme énoncé dans une demande de brevet publiée aujourd’hui, et déposée il y a plus d’un an, Apple espère réinventer la télécommande par … l’élimination de la télécommande.
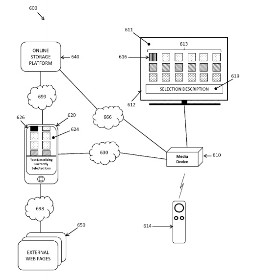
Apparemment, conçue comme une application, et vous l’aurez deviné, pour l’iPhone et l’iPad d’Apple, cette télécommande numérique utilise diverses icônes communes aux interfaces graphiques dédiées à la télévision. L’approche semble similaire au Chromecast de Google, qui est également contrôlé en utilisant des appareils mobiles.
La télécommande numérique ira évidemment de pair avec le propre dispositif d’Apple, l’Apple TV. Actuellement, vous pouvez naviguer dans les menus de l’Apple TV soit avec la télécommande réservée à l’Apple TV, ou avec la version actuelle d’une application nommée Remote. Mais, le brevet d’Apple cherche à améliorer les solutions actuelles en essayant de s’abstraire des diverses plateformes, telles que les smartphones, tablettes ou ordinateurs portables .

En allant un peu plus loin, la conception pourrait servir de solution parfaite pour le mystérieux appareil que Apple est en train de concevoir avec Comcast, qui prétend être une sorte de solution hybride d’un service de télévision par streaming qui fonctionnerait avec le boîtier Apple TV. Et bien sûr, il y a le légendaire téléviseur de Apple, sur lequel la firme travaille depuis déjà une décennie.
Que ce soit avec un nouveau périphérique ou non, les utilisateurs pourraient voir la télécommande numérique passer du concept à la réalité dès lors que Apple annoncera enfin un renouvellement de vieillissante Apple TV. Ou, Apple pourrait tout simplement pousser une mise à jour logicielle qui intègre la nouvelle interface de la télécommande avec son Apple TV actuelle.
Toutefois, ces concepts prennent généralement beaucoup de temps pour passer du papier au monde réel – encore faut-il qu’ils soient adoptés. Je vous tiendrais bien évidemment informé des évolutions…


